С 30.2

Чертеж изделия:
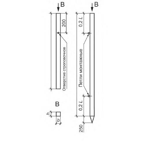
Характеристики изделия:
ПараметрЗначение
длина3000 мм
ширина200 мм
высота200 мм
масса300 кг
нормативный документГОСТ 24155-2016

С 30.2 Стойки по ГОСТ 24155-2016.