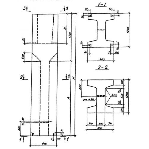
ВБ 9.12.57

Чертеж изделия:
Характеристики изделия:
ПараметрЗначение
длина900 мм
ширина1200 мм
высота5690 мм
вес10710 кг
серия0-221-84

ВБ 9.12.57 Блоки-стаканы верхние по серии 0-221-84.