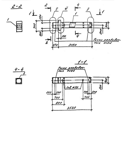
1КВД 42.00-3.22.00
Характеристики изделия:
| Параметр | Значение |
|---|---|
| длина | 3520 мм |
| ширина | 400 мм |
| высота | 700 мм |
| масса | 1450 кг |
| нормативный документ | Серия 1.020.1-4 |
Цена:
Рассчитать стоимость1КВД 42.00-3.22.00 Колонны двухконсольные для верхних этажей (Серия 1.020.1-4).