2КНО 60.72

Чертеж изделия:
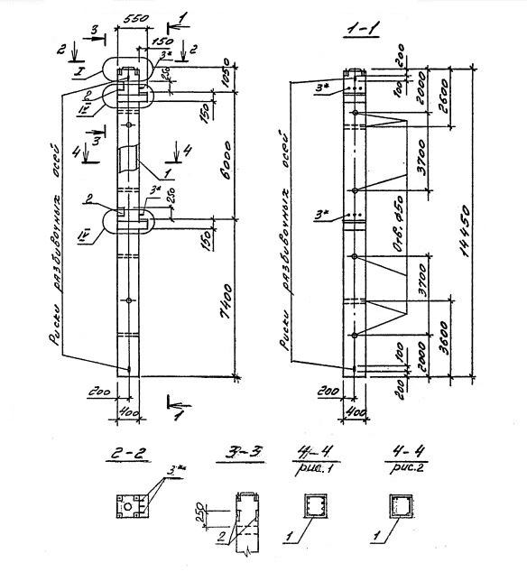
Характеристики изделия:
ПараметрЗначение
длина14450 мм
ширина400 мм
высота550 мм
масса5820 кг
нормативный документСерия 1.020.1-4

2КНО 60.72    Колонны одноконсольные для нижних этажей (Серия 1.020.1-4).

Маркировка с учетом диаметра угловых и промежуточных стержней арматуры, в мм. и марки бетона:

2КНО 60.72-3.20.00

2КНО 60.72-3.25.00

2КНО 60.72-3.28.00

2КНО 60.72-3.32.00

2КНО 60.72-4.32.00

2КНО 60.72-5.32.00

2КНО 60.72-3.36.00

2КНО 60.72-4.36.00

2КНО 60.72-5.36.00

2КНО 60.72-4.40.00

2КНО 60.72-5.40.00

2КНО 60.72-5.32.28

2КНО 60.72-6.32.28

2КНО 60.72-5.36.32

2КНО 60.72-6.36.32

2КНО 60.72-6.40.36

2КНО 60.72-6.40.40

2КНО 60.72-5.32.20