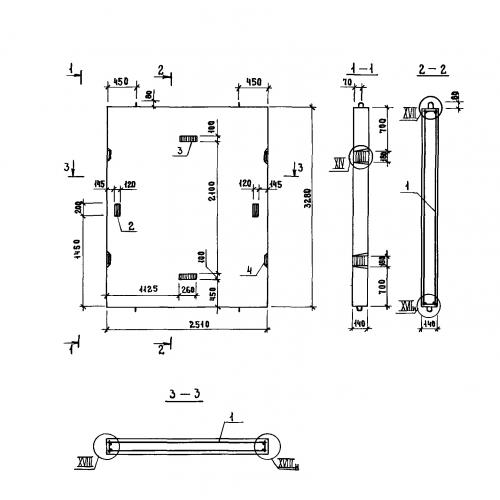
ПШЛ 160-33 панель шахты лифта основная

Чертеж изделия:
Характеристики изделия:
ПараметрЗначение
длина2510 мм
ширина140 мм
высота3280 мм
масса2880 кг
нормативный документСерия 1.089.1-1

ПШЛ 160-33 Панели шахт лифтов Серия 1.089.1-1.