ФСН 6

Чертеж изделия:
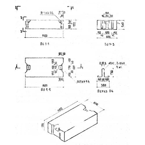
Характеристики изделия:
ПараметрЗначение
длина1180 мм
ширина600 мм
высота280 мм
масса460 кг
нормативный документСерия 1.116-1

ФСН 6  Бетонные блоки фундамента сплошные Серия 1.116-1.