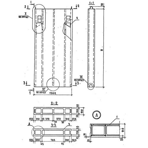
ВБВ 14.28.2

Чертеж изделия:
Характеристики изделия:
ПараметрЗначение
длина1360 мм
ширина240 мм
высота2790 мм
вес1110 кг
серия1.134-3

ВБВ 14.28.2 Внутренние вентиляционные блоки по серии 1.134-3.