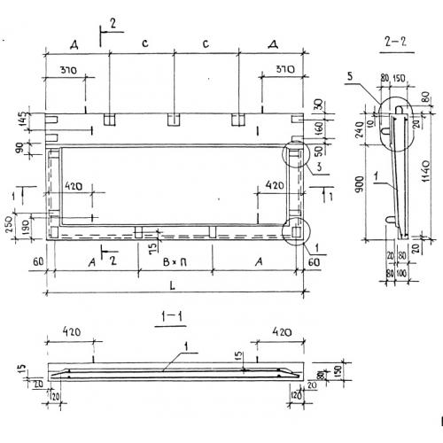
ПБ 24-4

Чертеж изделия:
Характеристики изделия:
ПараметрЗначение
длина2390 мм
ширина1140 мм
высота150 мм
масса773 кг
нормативный документСерия 1.137-3

ПБ 24-4  Плиты балконные Серия 1.137-3.