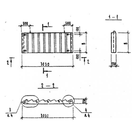
ЛМ 30.12.15

Чертеж изделия:
Характеристики изделия:
ПараметрЗначение
длина3030 мм
ширина1200 мм
высота250 мм
масса1700 кг
нормативный документСерия 1.151.-8с

ЛМ 30.12.15 Лестничные марши без фризовых ступеней Серия 1.151.-8с.