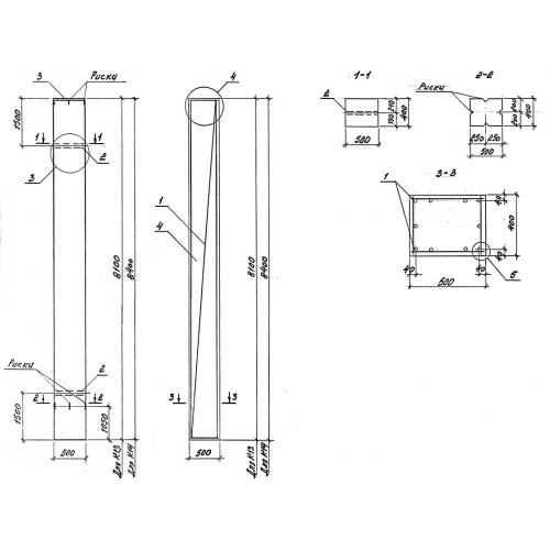
К 14

Чертеж изделия:
Характеристики изделия:
ПараметрЗначение
длина8400 мм
ширина500 мм
высота400 мм
масса4200 кг
нормативный документСерия 3.015-16.94

К 14  Колонны бетонные Серия 3.015-16.94.