70СП-9в

Чертеж изделия:
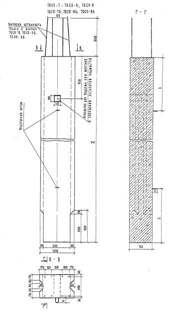
Характеристики изделия:
ПараметрЗначение
длина9960 мм
ширина1000 мм
высота860 мм
масса14200 кг
нормативный документСерия 3.503-23

70СП-9в  Блоки стенок Серия 3.503-23.