Р5

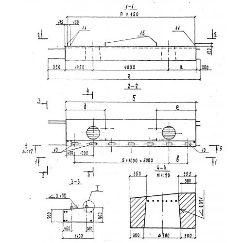
Чертеж изделия:
Характеристики изделия:
ПараметрЗначение
длина7300 мм
ширина1400 мм
высота800 мм
вес14700 кг
нормативный документСерия 3.503.1-95

Р5 Блоки ригеля по Серии 3.503.1-95.