5ПО 10

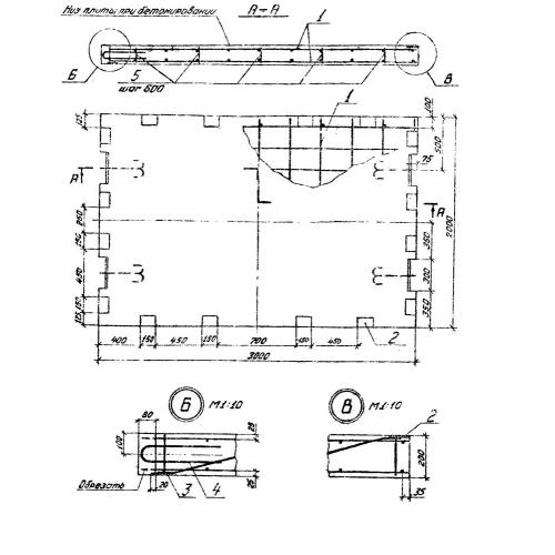
Чертеж изделия:
Характеристики изделия:
ПараметрЗначение
длина3000 мм
ширина1000 мм
высота100 мм
вес750 кг
серия3.505.1-16

5ПО 10 Плиты омоноличенные по серии 3.505.1-16.