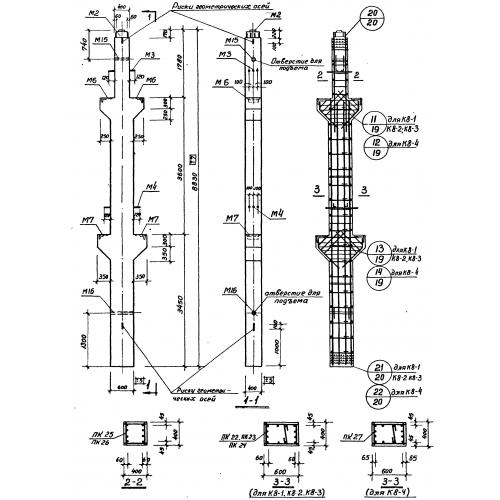
К 8

Чертеж изделия:
Характеристики изделия:
ПараметрЗначение
длина8830 мм
ширина400 мм
высота1100 мм
вес5450 мм
серияИИ 22-1

К 8 Колонны по серии ИИ 22-1.