К

Чертеж изделия:
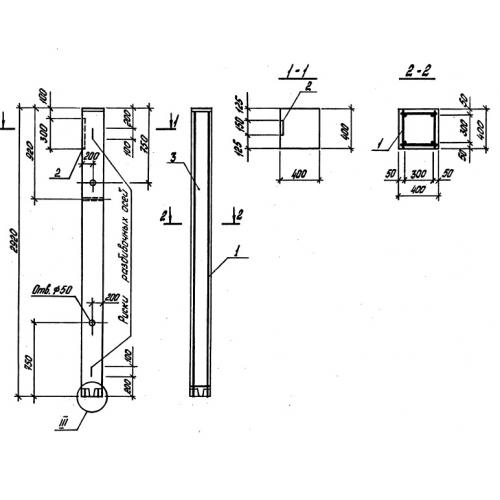
Характеристики изделия:
ПараметрЗначение
длина2920 мм
ширина400 мм
высота400 мм
вес1175 кг
серияТП 901-5-44.87

К Колонны по проекту ТП 901-5-44.87.